Kurz: Patent für neuen Apple-Stift – Verwendung mit Vision Pro möglich +++ Sonderkündigung für WOW-Abo möglich?


Apple ist ziemlich stolz auf die Eingabemethoden der Vision Pro: Ein gezielter Blick auf das Bedienfeld sowie einige wenige und simple Handgesten reichen im Alltag oftmals aus. Für die Eingabe längerer Texte ist natürlich eine Hardware-Tastatur besser geeignet. In einem neuen
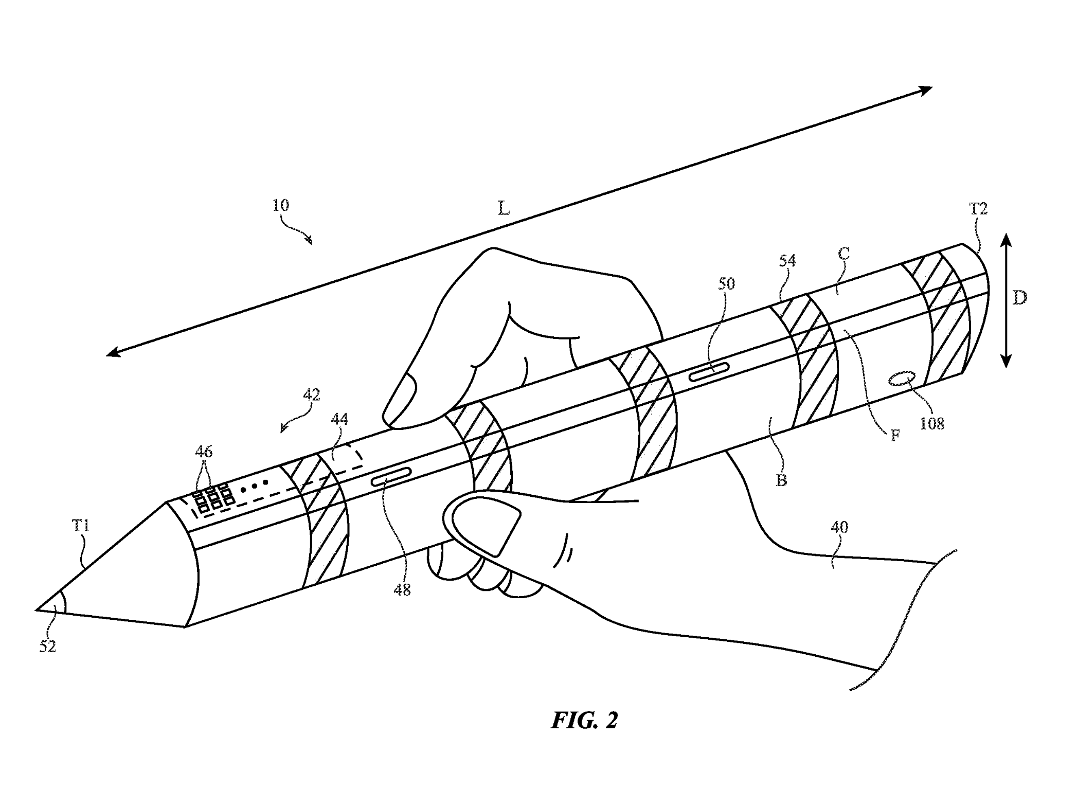
Patent sieht Apple jedoch eine weitere Eingabemöglichkeit vor: Dabei geht es um einen „Handcontroller“ in Form eines Stifts, welcher zahlreiche Bedienelemente beherbergt. Die Nutzung im Querformat ist ebenfalls vorgesehen.
Apple gibt an, einen solchen Stift mit dem iPad und vielen weiteren Geräten wie Headsets, Smartphones, Notebooks und Smartwatches verwenden zu können. Kommt die Vision Pro zum Einsatz, schwebt Cupertino wohl die Einblendung einer virtuellen Spitze vor – etwa eines computergenerierten Pinselkopfs. Das Gerät erfasst zudem Wisch-, Schreib- und Schüttelbewegungen sowie weitere Gesten.
Nach Wegfall von HBO-Inhalten: Sonderkündigung für WOW einreichenHBO Max ist ab sofort auch hierzulande für eine monatliche Gebühr zwischen 5,99 und 16,99 Euro verfügbar (siehe
hier). Für Abonnenten der Streamingplattform WOW sind das nicht unbedingt erfreuliche Nachrichten: WOW muss nun auf eine bemerkenswerte Anzahl hochwertiger HBO-Produktionen verzichten. Das betrifft Klassiker wie
Sex and the City und
The Sopranos sowie Serien wie
Euphoria. Aufgrund der klaffenden Lücke im Katalog von WOW sieht die
Verbraucherzentrale Hamburg den „Gesamtcharakter des Streaming-Angebots“ der Plattform geändert. Für viele Abonnenten falle schlicht ein wesentlicher Bestandteil weg und es ergebe sich eine erhebliche Leistungsänderung. Die Verbraucherzentrale hält daher ein Sonderkündigungsrecht für möglich, wenn das Abo über einen längeren Zeitraum abgeschlossen wurde.
Für die Sonderkündigung gemäß § 314 BGB stehen mehrere Optionen offen. Ein Musterbrief ist auf der
Internetseite der Verbraucherzentrale zu finden. Wichtig sei der Hinweis auf den Wegfall vertragswesentlicher Inhalte – und damit der Verweis auf die fehlenden HBO-Serien. Ferner gilt es, die Kündigung so rasch wie möglich zu erklären.